近期,科技界再度聚焦于苹果公司的一项创新尝试——“Bongo项目”,这一曾被认为已遭搁置的计划,在一项最新获批的专利申请中重获关注,预示着触觉按钮技术未来或将在iPhone等苹果产品上迎来新生。
据悉,“Bongo项目”最初由苹果公司于2022年提出,旨在通过引入触觉音量和电源按钮,为更高端的iPhone Pro系列带来革新体验。这一设计核心在于内置的“Bongo Haptic Engine”,它利用振动反馈提升用户交互感受,并在外观上形成与基础款产品的差异化。

据透露,苹果曾在iPhone 14 Pro、15 Pro Max及16系列的原型机上对这一设计进行了详尽测试,甚至制作出了功能完备的EVT阶段原型机。然而,由于测试结果未达预期及硬件故障率较高,该设计未能进入量产阶段,传闻苹果在2023年4月决定放弃将其应用于iPhone 15 Pro机型。
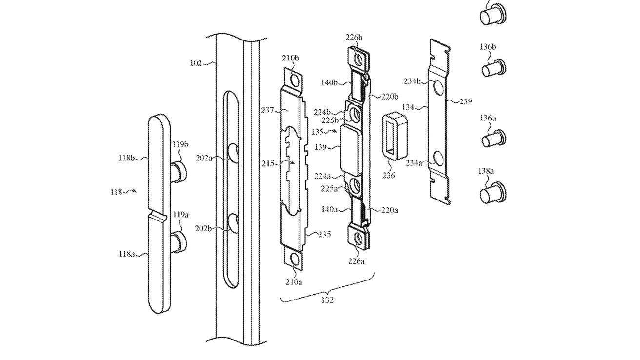
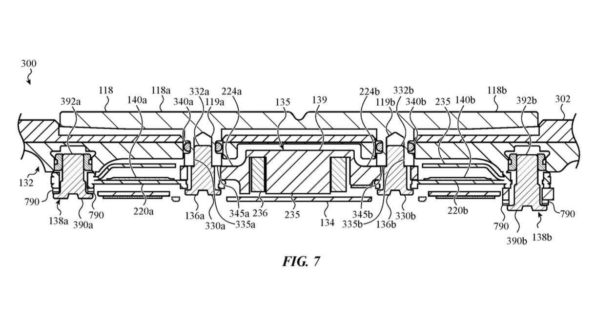
尽管如此,苹果并未完全放弃这一创新技术。2023年9月,苹果提交了关于“Bongo项目”的专利申请,并于2025年4月正式获批。专利描述显示,触觉按钮设计采用了柔性结构和应变计来感知压力变化,一旦检测到按压动作,电信号将被传输至“Bongo Haptic Engine”,通过电磁阻尼电机产生振动反馈,其工作原理与常规的Taptic Engine相似。

值得注意的是,虽然此次专利申请并未带来全新信息,但它透露了一个重要信号:Bongo设计的应用范围可能远不止智能手机。根据专利描述,这项技术未来或可应用于包括平板电脑、可穿戴设备、头戴式设备及电子笔在内的“多种电子设备”。这意味着,触觉按钮技术有望在Apple Watch、Apple Vision Pro或Apple Pencil等苹果产品上得以应用。

苹果公司的这一创新尝试,无疑再次展现了其在用户体验和技术革新方面的深厚底蕴。尽管“Bongo项目”曾遭遇挫折,但专利申请的获批无疑为这一技术的未来发展打开了新的大门。随着技术的不断进步和应用的不断拓展,触觉按钮技术有望在苹果产品系列中发挥更加重要的作用。
